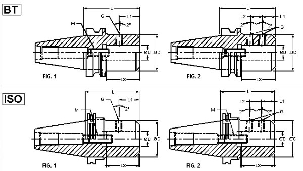
for parallel shank tools with WELDON shank DIN 1835 - B(with taper flat)